Bøjning1.5/16 JICx1.1/4 flange 45gr.

Bøjning1.5/16 JICx1.1/4 flange 45gr.

Artikelnummer:
26PA1620

Förpackningsstorlek:
0 pcs

Minsta beställningskvantitet:
1 pcs
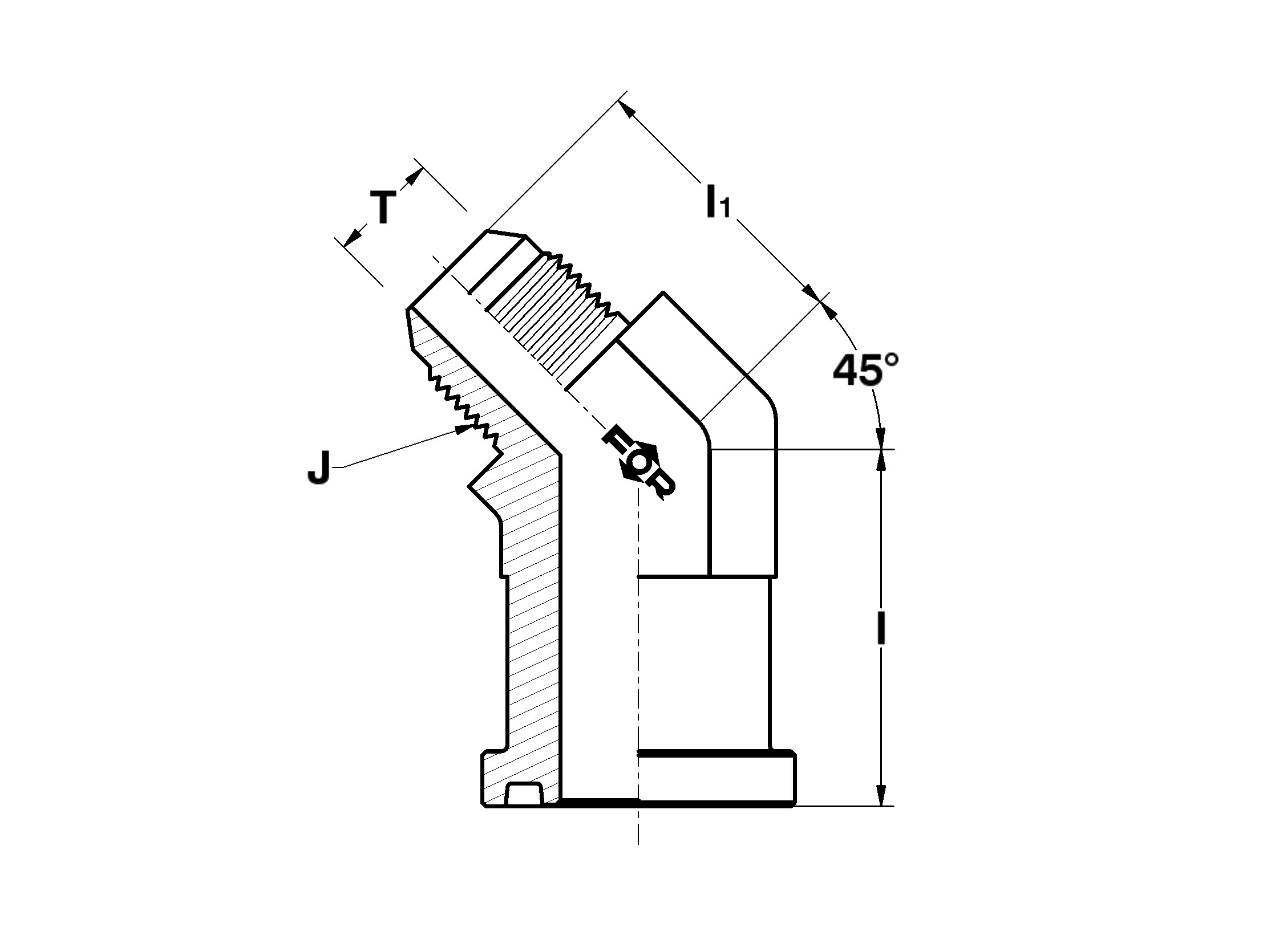
Dimension A
58.72 mm

Dimension B
30.18 mm

Dimension I
42 mm

Dimension T
25 mm

Dimension l1
37 mm

Flange
1.1/4 "

Flange SAE/DIN
3000 PSI

Gevind udvendig
1.5/16-12 JIC

Korrosions resistens
1400 hours salt spray DIN EN ISO 9227

Materiale
Stål

Mærke navn
FOR

Overfladebehandling
El-forzinket

Standard ISO
ISO 6162-1

Standard SAE
SAE J518 Code 61

Tryk maks.
276 bar

Vinkel
45 °
Förpackningsstorlek
0 pcs

Streckkod
5704295991320

Bruttovikt
0,37 Kg

Nettovikt
0,37 Kg

Ursprungsland
ITA

Intrastat artikelkod
73071110

Bøjning1.5/16 JICx1.1/4 flange 45gr.

Obs: För att öppna 3D-filer krävs ett program som stöder filformatet