Kobling 1/2, 1/2 BSP oml. 90gr 8G-8FBSPORX90 Gates MegaCrimp

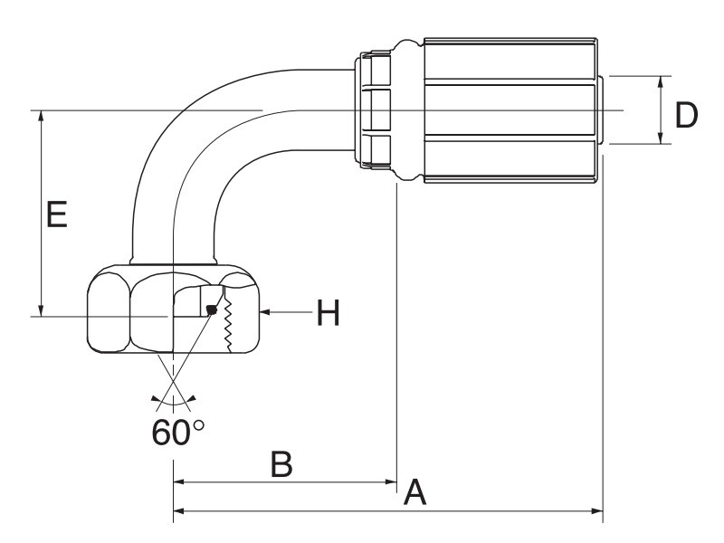
Tilslutning: Indvendigt BSP-gevind i omløber med 60° udadvendt konus og o-ring.

Pakning/tætningsflade: O-ring mod metal på modpart.

Artikelnummer:
G0808NU90

Förpackningsstorlek:
0 pcs

Minsta beställningskvantitet:
1 pcs
Gevindprop, 1/2" BSP, 1/2" NPT, M20x1.5
Artikelnummer: PLUG04M
Dimension A
78 mm

Dimension B
40.5 mm

Dimension D
1/2 "

Dimension E
37.5 mm

Dimension H
27 mm

Gevind
G 1/2 BSP

Korrosions resistens
500 hours salt spray ASTM B-117

Materiale
Stål

Model kode
8G-8FBSPORX90

Mærke navn
Gates

Overfladebehandling
TuffCoat™

REACH compliant
Ja

RoHs compliant
Ja

Slangekoblingstype
Med fast kappe

Slangestørrelse
1/2 "

Tilspændingsmoment
41 - 49 Nm

Vinkel
90 °
Förpackningsstorlek
0 pcs

Streckkod
5704334245452

Bruttovikt
0,17 Kg

Nettovikt
0,17 Kg

Ursprungsland
CZE

Intrastat artikelkod
73269098

Tilslutning: Indvendigt BSP-gevind i omløber med 60° udadvendt konus og o-ring.

Pakning/tætningsflade: O-ring mod metal på modpart.