Sun pilotst. overtryksventil

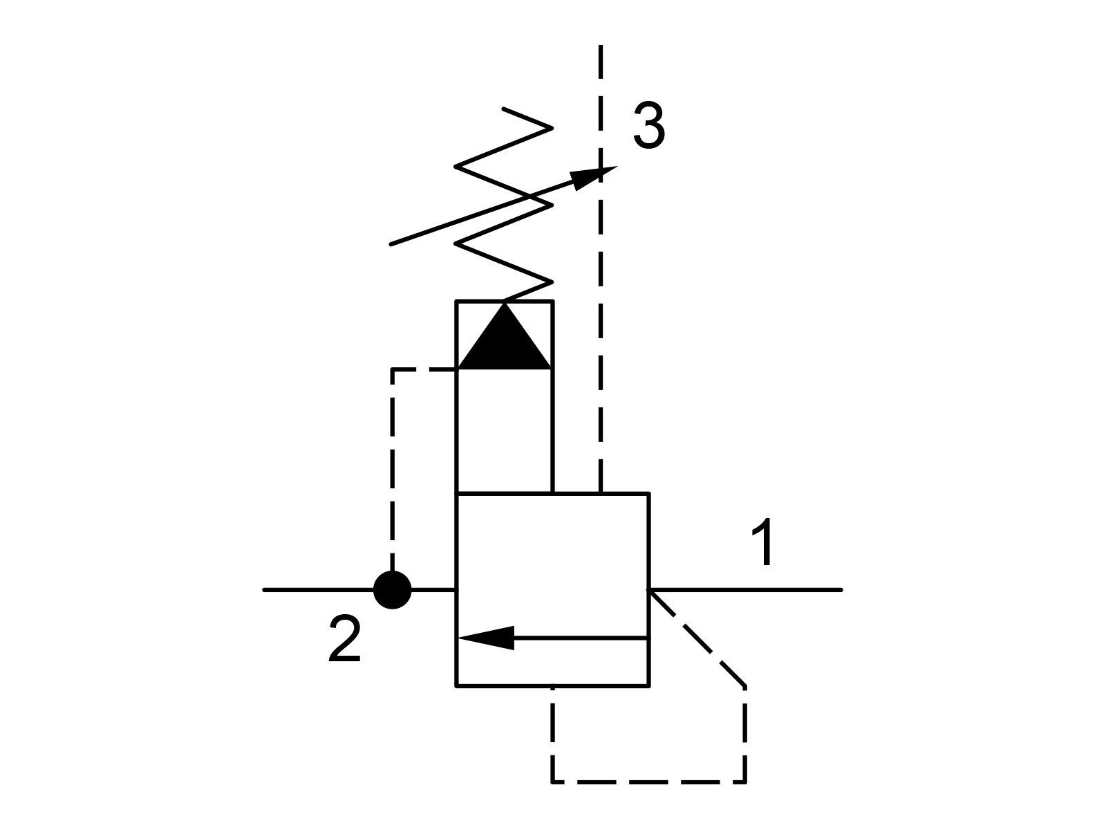
Ventileringsbare, pilotstyrede, balancerede stempelaflastningspatroner er normalt lukkede trykreguleringsventiler. Når trykket ved indløbet (port 1) når ventilens indstilling, begynder ventilen at åbne mod tanken (port 2), hvorved flowet reguleres for at opretholde trykket. Disse ventiler har en ventilationsport (port 3), der forbinder hovedstemplet med pilotstadiet for at muliggøre fjernstyring via andre pilot- eller 2-vejsventiler. Ventilerne er præcise, har lav trykstigning i forhold til flow, er glatte og støjsvage samt moderat hurtige.

  • En fjernpilotaflastning på port 3 (vent) vil styre ventilen under dens egen indstilling.
  • Kan modstå maksimalt tryk ved port 2; egnet til brug i krydsaflastningskredsløb. Hvis de anvendes i krydsaflastningskredsløb, bør spole lækage overvejes.
  • Hovedstadieåbningen er beskyttet af et 150-mikron rustfrit stål net.
  • Ikke egnet til brug i lastbærende applikationer på grund af spole lækage.
  • Modtryk ved tankporten (port 2) lægges direkte til ventilindstillingen i et 1:1-forhold.
  • Indeholder Sun's "floating style"-konstruktion for at minimere risikoen for, at interne dele binder på grund af overdreven installationstrækning og/eller variationer i cavity-/patronbearbejdning.

Varenummer:
RVCA-LAN

Pakke str.:
0 pcs

Min. bestillingsenhed er:
1 pcs
Sun hus T11A R3/8
Varenummer: EAU
Sun hus T11A R1/2
Varenummer: EAV
Sun sandwich valve Block Ceto
Varenummer: EBA
Ventilhus SUN T-11A NG6
Varenummer: EBA/M
Ventilhus SUN T-11A x2 NG6 Alu.
Varenummer: EBY
Ventilhus SUN T-11A x2 NG6 Stål
Varenummer: EBY/S
Sun Block T11A
Varenummer: ECT
Sun hus T11A stål
Varenummer: ECT/S
Sun hus T11A R3/8
Varenummer: ECU
Sun stålhus T11A R3/8
Varenummer: ECU/S
Sun hus T11A R1/2 stål
Varenummer: ECV/S
Ventilhus SUN T-11A G1/4''
Varenummer: EFT
Ventilhus SUN T-11A G3/8'' Stål
Varenummer: EJU/S
Sun ventilhus T-11A Stål
Varenummer: X4B/S
Sun hus 2 x T11A R1/2
Varenummer: YEV
Pakningssæt SUN T11-A Viton
Varenummer: 990-011-006
Pakningssæt t/Sun ventil T11A Buna
Varenummer: 990-011-007
Cavity
T-11A

Flow Nominel
60 lpm

Forureningsgrad maks.
19/17/14 - ISO 4406

Materiale
Stål

Model kode
RVCALAN

Mærke navn
Sun Hydraulics

Olieviskositet anbefalet
2,8 - 380 cSt

Pakningsmateriale
NBR

Temperatur maks.
+110 °C

Temperatur min.
-30 °C

Tilspændingsmoment
41 - 47 Nm

Tryk T maks.
350 bar

Tryk maks.
350 bar

Trykindstilling maks.
210 bar

Trykindstilling min.
7 bar
Pakke str.
0 pcs

Stregkode
5704295352817

Brutto vægt
0,17 Kg

Netto vægt
0,17 Kg

Oprindelsesland

Intrastat varekode
84812010

Ventileringsbare, pilotstyrede, balancerede stempelaflastningspatroner er normalt lukkede trykreguleringsventiler. Når trykket ved indløbet (port 1) når ventilens indstilling, begynder ventilen at åbne mod tanken (port 2), hvorved flowet reguleres for at opretholde trykket. Disse ventiler har en ventilationsport (port 3), der forbinder hovedstemplet med pilotstadiet for at muliggøre fjernstyring via andre pilot- eller 2-vejsventiler. Ventilerne er præcise, har lav trykstigning i forhold til flow, er glatte og støjsvage samt moderat hurtige.

  • En fjernpilotaflastning på port 3 (vent) vil styre ventilen under dens egen indstilling.
  • Kan modstå maksimalt tryk ved port 2; egnet til brug i krydsaflastningskredsløb. Hvis de anvendes i krydsaflastningskredsløb, bør spole lækage overvejes.
  • Hovedstadieåbningen er beskyttet af et 150-mikron rustfrit stål net.
  • Ikke egnet til brug i lastbærende applikationer på grund af spole lækage.
  • Modtryk ved tankporten (port 2) lægges direkte til ventilindstillingen i et 1:1-forhold.
  • Indeholder Sun's "floating style"-konstruktion for at minimere risikoen for, at interne dele binder på grund af overdreven installationstrækning og/eller variationer i cavity-/patronbearbejdning.

HydraSpecma | Nordens bredeste hydraulik sortiment online - dag til dag levering!
HydraSpecma | Hydrauliske Systemer – Slange- og Rørledningsartikler – Elektrificering – Vedvarende Energi

HYDRASPECMA
– DIN PARTNER FRA IDÉ
TIL SERIEPRODUKTION

Hos HydraSpecma er vi specialiserede i at designe og bygge state-of-the-art hydrauliske og elektriske systemer, skræddersyet til vores kunders forskellige behov på tværs af brancher.

Vores ekspertise stopper ikke bare der. Vi er også førende inden for levering af omfattende slange- & rørledningsartikler – fra højkvalitets slanger og rør til robuste fittings og adaptere – som sikrer problemfri væskekontrol og langtidsholdbar ydeevne.

Vi tilbyder også et stærkt produktudvalg til industrien for vedvarende energi, der understøtter din virksomhed med markedsførende køleløsninger, smøre- og filtreringssystemer, hydrauliske systemer samt slanger, rør og fittings.

Vores passion for innovation matches af vores ansvar for kvalitet. Hvert produkt og system i vores omfattende sortiment afspejler dette. Uanset om du arbejder med komplekse hydrauliske systemer eller søger pålidelige komponenter, leverer vi løsningen, du har brug for.

Tag næste skridt med os og oplev, hvordan præcision og teknik går hånd i hånd – og hvor hver eneste forbindelse handler om mere end komponenter og systemer; det handler om mennesker og deres forretning.

FOR HOS HYDRASPECMA

ER DIN SUCCES VORES SUCCES

KONTAKT HYDRASPECMA